⑤应用变液位法测量气液两相流量。前面所述的四种方法用来测量气液两相流流量都不够完善,因为他们能够实现的测量同第二节所提出的测量要求还有很大差距。当然,有的测量对象如果只需知道气液混合物体积流量或质量流量,这些方法就可能投入实际应用。但若需进一步知道各相质量流量或气相质量流量含量,那就需另想办法。其中将气液两相先进行分离,然后用测量单相流量的方法分别测量气液两相的质量流量。

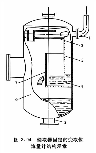
图3.94所示为储液器固定的变液位流量计结构示意。常用来测量含气石油中的石油流量。由图可见,石油和气体的混合物由管1切向进入分离室2,使气液分离。气体经分离室后流入储液器4,再经槽缝7流入容器下部6后,和气体一起经管5流出。储液器中装有稳定液位用的隔板3,储液器4中的液位可采用差压计测出储液器中液柱静压的方法来确定。根据读出的差压可确定液位高度h,再根据各相应计算式(一种形状的槽缝对应一种计算式)算出液体体积流量qv。
其实,将仅适用单相流的流量计与气液分离器配合用来测量气液两相流中的部分参数应用最多的是饱和蒸汽流量测量。饱和水蒸气经长距离输送,因热量损失而部分蒸汽变成冷凝水,管道中流体变成气液两相流,影响某些原理的流量计正常工作。常用的做法是在流量计前装设气液分离器,然后将液体经疏水器排放掉。经气液分离后的蒸汽可近似看作为单相流,从而用一般流量计进行测量。
⑥基于螺旋管分离器的多相流计量装置。该装置是为计量油气水多相流体而设计的。其主体是螺旋管复合气液分离器,如图3.95所示。中部为螺旋分离腔,上部为集气腔,下部为集液腔。

气液混合物进入螺旋管流道内产生强烈旋流运动。通过离心力使气体和液体进行分离。为了适应含气率和总体流量较小的工况,采用重力分离部分进行气液分离,从而缩小分离器体积,增强其适应能力,提高气液分离效果。
集气腔是空腔,近气体出口处设捕雾网。集液腔也是空腔,近液体出口处设防旋涡挡板。螺旋分离腔由腔体和内置多圈螺旋管组成,在螺旋管道内上侧开孔,分离出的气体从开孔处排出进入集气腔。在螺旋管道外下侧开孔,分离出的液体从开孔处排出,沿腔体壁进入集液腔。当流体含气量很少或总体流量较小时,流体在螺旋管内流速较低,离心加速度较小,主要依靠分离器集气腔和集液腔进行分离。
在图3.95中,上部的气体出口管上装有气体质量流量计1(1.0级),下部的液体出口管口装有涡轮流量计2,经计量的气体和液体从装置出口流出。为了将集液腔内的液位控制在理想高度,配置了液位调节系统,调节手段是气体排出量。
测试表明,该装置对油气水三相流不同气液比、不同负荷,具有较强的适应能力。其中液体流量在 20~130m3/d范围内变化,含水量在20%~85%范围内变化,气体流量在100~500m3/d范围内变化,液流量计量最大相对误差1.5%,气流量计量最大相对误差 -2.1%。
四、混合不均匀的双组分液体及其流量测量
(1)混合不均匀的双组分液体的流动结构混合不均匀的双组分液体的流动结构和气液两相流相近,但是,由于此时两相的黏性、密度以及两相分界面上的张力和气液两相流不同,因而在流动结构上也存在一定的差别。
图 3.96 所示为由密度为851kg/m3的油和水在垂直上升管中混合流动时的各种流动结构。随着油流量的增大,油水两相流逐渐由图示的细泡状流动结构、弹状流动结构、块状流动结构转变为雾状流动结构。在图中呈细泡及弹状结构的工质为油,在雾状流动结构中,雾滴的工质为水。

图 3.97 所示是油水混合液在水平管中的各种流动结构示意。当水流量较大而油流量较小时,油和水的流动结构为细泡位于管子上部的细泡状流动结构。当水流量和油流量均小时,油和水的流动结构为油在上面水在下面的分层流动结构。当水流量及油流量增大时,油水分界面发生波动,形成波状流动结构。当水流量再增大时,形成弹状流动结构。当水及油的流量均较大时,油和水形成混合状流动结构。
图3.97所示的流动结构是油水密度相差较多时的流动结构,当两种液体的密度相近时,混合物流动结构中的油和水分布情况要比图3.97所示的均匀。
(2)混合不均匀的双组分液体的流量测量方法 从上面的流动结构分析可以看出,混合不均匀的双组分液体分层流动时,对流量测量影响较大,由于上层液体和下层液体之间黏度和密度存在差异,因此,流速也存在差异。于是对以流速测量为基础的流量计的测量带来误差。
从图3.96可看出,垂直上升管道中的此类混合物流动不存在分层流动的情况,而且在流速较高时,流体呈雾状结构,可将其近似看作均相流体,从而可用通用单相流量计进行测量。
五、液固两相流及其流量测量
(1)液固两相流的流动结构液固两相流的流动结构非常复杂,不仅受到液固两相密度、固相含量、流速变化以及管道形状和布置方式的影响,而且还受到固体颗粒尺寸的影响。它和气固两相流很相似,在表明垂直上升气固两相流流动结构的图3.98中,如将气体换成液体,即可变为液体流化床和液力输送固体颗粒的流动结构示意图。当然,在液固两相流中出现这些流动结构的具体工作参数上是和气固两相流不同的。

水平管道中的液固两相流的流动结构如图3.99 所示。当流速低于临界流速时,固相会发生沉淀,当超过临界流速时,混合物可成为浮游流动。
(2) 液固两相流的流量测量方法
①差压式流量计。差压式流量计用于测量各种浆状流体的流量,例如水煤浆、泥浆等已有几十年的历史。为了保证节流装置不沉积固相颗粒,一般都采用文丘里管。另外还需注意文丘里管喉部的磨蚀问题以及导压管被浆状物质堵塞问题。
图3.100 所示为一个用于铝土矿浆流量测量的文丘里管,图中所示的文丘里管作水平布置,在喉部装有用耐磨材料制成的可更换的圆套筒4。试验证明,当喉部不装设圆套筒,则由一般碳钢制成的喉部每月磨蚀1mm,装上防磨蚀圆套筒后,可使文丘里管的运行期延长好几倍。

另外,3.2.2节中所述的楔形流量计也适用于测量液固两相流量,国内有一些应用经验。采用带法兰膜片隔离的差压变送器和带吹洗液的取压管,能使取压管有效防堵。
楔形流量计实际使用中的困难是楔形节流件顶部的快速磨蚀,而且一经磨蚀就无法用文丘里管中更换套筒的方法恢复其准确度,只能整体更新,因此运行成本高。
对于应用差压法测量液固两相流量的研究工作进行得还不够,由于两相流中轻相的流速要比重相流速快,此两相之间的滑动现象引入一定的误差,所以这样的应用比测量单相流量时误差大,不确定度一般可达±5%。
②科氏力质量流量计。科氏力质量流量计测量含有少量固体颗粒的液体流量,具有较高的信赖度,测量渣油、重油可长时间可靠运行,有的甚至用来测量熔融状态的沥青石墨糊流量。但当固体含量增加和固体粒度较大时,就要考虑防堵问题,尤其是仪表口径较小时。最好选用单根直管型,并将其安装在垂直管道上。
液固两相流中的固体颗粒形状多种多样,硬度差异也很大,因此对流量计同流体接触的部分产生磨蚀作用,磨蚀速度不仅与固体颗粒外形及硬度有关,还与流速有关,流速越高,磨蚀速度越快。将流量传感器安装在垂直管道上,可以防止管壁因磨损不均而缩短使用寿命。然而管壁厚度变薄会降低测量管刚度而导致误差增大。当然,最严重的情况是测量管被磨穿,因此,遇到这种情况时应加强监测。
③超声流量计。3.3.2节中的多普勒超声流量计同样适用于液固两相流量测量。如果采用夹装式流量传感器,则管道磨蚀问题和防堵问题全由工艺管道承担。若将传感器安装在水平管道上,由于重相靠管底流动可能会引入较大的测量误差,因此,应尽量安装在垂直管道上。
④ 电磁流量计。测量矿浆、煤浆、泥浆、纸浆等一类电导率较高的液体,电磁流量计具有独特的优越性。首先,测量准确度高,可比差压式流量计高若干倍;其次,完全用不着考虑堵塞问题,因为选用与工艺管道等直径的流量传感器,不增加阻力;至于耐磨蚀问题,也强调将测量管安装在垂直管道上,不仅磨蚀一致,而且不易在流速低时发生重相沉积现象。
为了对测量管内衬的磨损进行监视,提出了内衬磨穿报警方法,在图3.101所示的测量管中,件号5、6为报警电极,当内衬被磨穿后,两电极之间经流体导通,从而发出警报。从现场运行实践看,靠近测量管近法兰处内衬磨损最为严重,所以图3.101所示的测量管增设了耐磨性较强的保护环7。
